Recent popular games: #Call of Duty: Black Ops 6
"Star Citizen" crowdfunding over 750 million US dollars for free trial activities
At present, the 13 -year -old cosmic simulation game "Star Citizen" has officially launched and opened the first player who can actually fly in the game to control the flagship spacecraft "Arctic Star" and a series of other new spacecraft.The amount h
Myriagame2024-12-31
It is reported that due to the lack of funding for heavy -duty rockets, Russia delays the manned moon landing plan
IT House today (November 30) News, at the Youth Scientist Conference, Roscosmos, a advisory of Russian Aerospace Group Roscosmos, announced that due to limited funds for the development of Russian overweight rockets, it will be delayedMonthly plan.
Myriagame2024-12-31
The BBC survey shows that a large number of British mobile game ads have not correctly indicated the box opening mechani
The most popular mobile game in the UK "did not disclose its containing box -opening lottery mechanism when doing advertising."After the BBC recently investigated the top 45 game in the Google App Store, it was found that only two games correctly indica
Myriagame2024-12-31
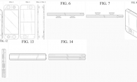
Samsung submits a registered handheld design patent game hardware field and there are new players?
Samsung may enter the game field with a new hand -up game console. This device looks like a mixture of Samsung Galaxy Z Fold or FLIP folding mobile phone and NS.This possible future device is through the recent WIPO to the World Intellectual Property Orga
Myriagame2024-12-31
"Dragon Century: Trial" has intended to bomb Tianshibao in the expansion film
In the early days of the climax of "Dragon Century: Trial", there was a plan in the early days to make players be forced to bomb their beloved base -Tian Qingbao.Tianqingbao is the main scene of "Dragon Century: Trial" -a towering cloud, upgraded and
Myriagame2024-12-31
Flying Simulation "Battle Pilot" Steam page is available for sale date to be determined
Today (November 30), the Steam page of the World War II Flying Battle Simulation game "Combat Pilot: Carrierquality" is open. Interested players can click here to enter the store page.
Myriagame2024-12-31
The famous work insurance was buried without "Garry's Mod" and had planned not to be released on Steam
"Garry's Mod" is one of the very representative products on the Steam platform. Anyone can use this sandbox to create interesting scenes and game modes and share it with others.Garry'smod's creator Garry Newman is there recently
Myriagame2024-12-31
Developers of "Exotic Soul Songs" recall how to break through the Infinity engine restrictions
When the Black Island Studio launched its highly respected role -playing game "Dragon and Dungeon" role -playing game "Exotic Soul Songs" in 1999, it is ensured that it is completely different from other video games on the market.What the studio has t
Myriagame2024-12-31
"Pokémon Collection Change Pocket" will take action on improper user names
The popular mobile card game "Pokémon replacement card Pocket" has warned, saying that it will take action to any players who use rude, offending or inappropriate user names.After all, Pikachu and their friends attract players of all ages. This app is b
Myriagame2024-12-31
Hamster version of ingenuity?"Warframe" announced the new PVPVE mode
Digital Extreme, a developer of "Star Warfare/War Framework/Warframe" developer, recently announced a new PVPVE gameplay, which will be launched with the expansion of the Star Troop Armor 1999 announced before.
Myriagame2024-12-31
Yanyun Sixteen Sounds Sharing: Talk to the person in charge of the battle.
Hello ranger, I am the person in charge of the planning of the Yanyun combat system.Like students in other modules, we have recently worked hard to retreat and do the final sprint for the upcoming public beta.The design of the combat system is related to
Myriagame2024-12-31
"World War: Siberia" trailer and screenshot sharing
1C Game Studios released the first screenshot of "World War: Siberia" announced in August 2023, revealing the background of this third -person action adventure suspense game, that is, parallel in parallel in 1896, which occurred by alien invasion.After
Myriagame2024-12-31
IGN commented on the best PS game in the 100 history: "Metal Equipment" domineering
The "100 PlayStation Games in History" selected by IGN was released, and Kojima Showifu's "Alloy Equipment" won the fierce competition.Some netizens said that "Alloy Equipment" is well deserved, "it does surpass the times, it is a masterpiece."
Myriagame2024-12-31
A man's malicious "recover" game account was arrested: administrative detention for 8 days
Recently, a man sold the game account and maliciously "recovered" with his ID card, but he was arrested.According to the Leshan Police, the Namshan Police Station of the Public Security Bureau of Emeishan City recently received a report from Fan Moumou
Myriagame2024-12-31
The sequel to "Watch Dog: Corps" will be launched in the form of interactive audio experience
The story of "Looking at the Dogs" will continue to tell in the original original drama series."Watch Dog: Truth" is the sequel to the open world game launched in 2020, and is characterized by some return characters in this series."This thrilling
Myriagame2024-12-31
"Bubble Winter Scenery" sequel "Poetry of the End of Century" announced
The news of NEKODAY will develop the sequel to develop and develop a widely popular visual novel "Bubble Winter Scenery".The original title is "Poems of the End of the Century", and the English title is "The Last Poem". The game supports Chinese and
Myriagame2024-12-31
Steam special autumn special "Cyberpunk 2077" reached the top of the world's best -selling game
Affected by Steam's autumn special offer, "Cyberpunk 2077", which has reduced prices by 55%, became the world's best -selling game in Steam, ranking first."Cyberpunk 2077" STEAM standard version of the original price of 298 yuan, the current price i
Myriagame2024-12-31
Former "No Land 3" developers will use design inspiration to cooperate with new works
The "Landless Land" series is known for many characteristics, but there may be an aspect of this series of games that has not been fully valued, that is, the design of the role of the role- "The Landless Land 3"The character design draws inspiration f
Myriagame2024-12-31
The sales of "Garui Module" exceeded 25 million 18 -year classic sandbox adventure
Facepunch Studios Studio has recently announced that its classic sandbox free adventure game "Garui Model" sales exceeded 25 million, and at the same time celebrated the 18th anniversary of the offering of this work.• Garry's Mod
Myriagame2024-12-31
"Sneak 2" 1.0.2 Update has now been launched on the PC side. Multiple card tasks have been fixed
After the first patch 1.0.1 was released, GSC GameWorld released the second patch 1.0.2 of "Sneak 2", which is now available on the PC end (STEAM, EPIC, GOG).Officials said that 1.0.2 patch will also be launched soon X
Myriagame2024-12-31
Tencent has now acquired most of the shares of "Ming Chao" developer Culo
According to media reports, Tencent has acquired about 37%of the shares of Kur Games (Kuro) developer from Hero Mutual Entertainment. At present, it holds the company's 51.4%controlling stake. At the same time, Tencent is also the only external sharehold
Myriagame2024-12-31
"GTA6"?The online biography TGA will have a "defined generation" game debut
Every year's TGA awards ceremony will be announced, and this year's situation seems to be the same.The pushing master GTA6Countdown broke the news that this year's TGA awards ceremony may have a game of "Generation-Defining".also
Myriagame2024-12-31
"Oath" senior developer: I have never been confident in the game as I do now
It is only a few months before the release of "Oath", and its popularity is increasingly rising, and not just players are helping the flames. A senior developer said that when a game is nearly released, which game image he has never been onHe is so conf
Myriagame2024-12-31
"Mika and Witch's Mountain" in March 2025 Log in to PS5 Little Witch Send Express
The Pikii Contract announced recently that a small fresh little witch sends the courier game "Mika and Witch's Mountain" on March 13, 2025, and launched the Switch physical version at the same time, so stay tuned.· "Mika and Witch's Mountain" accord
Myriagame2024-12-31